Navigating the world of hardware, especially when it comes to selecting the right type of U posts, can be a daunting task. The 4-foot U post is a popular choice for various fencing needs, offering an ideal balance between durability, ease of use, and affordability. This article delves into the practical applications, benefits, and considerations when using 4-foot U posts, enhancing your understanding and aiding your decision-making process.

The versatility of the 4-foot U post makes it a preferred choice for a variety of fencing applications. Whether you are setting up a temporary garden barrier, supporting a lightweight wire fence, or looking for a reliable solution for vineyard trellising, this post's functionality covers a broad spectrum. Unlike wooden posts that may rot or metal T-posts that are excessively heavy for certain tasks, the U post provides a middle ground. Its construction typically involves a sturdy steel material that ensures long-term use and reliability, even in harsh weather conditions.
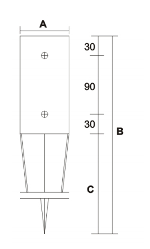
One of the standout benefits of a 4-foot U post is its simplicity in installation. This feature is crucial, especially for DIY enthusiasts or small-scale projects that do not warrant extensive labor. With their pointed end design, these posts can be driven into the ground using a regular post driver, negating the need for specialized equipment. The design also often includes convenient anchor holes, allowing for secure fastening of fencing material, thus ensuring stability and resilience against potential external forces such as wind or animal pressure.

From an expert standpoint, the consideration of the 4-foot U post’s gauge is vital. Thicker gauges translate to greater strength and longevity; however, they may require more effort during installation. Therefore, an understanding of the specific demands of your project will guide the choice of gauge. For lightweight applications, a 14-gauge post might be sufficient, whereas for more rigorous needs, opting for a 12-gauge post would provide additional peace of mind.
4 foot u post
Experts in the field also emphasize the importance of post spacing and depth for optimal performance. Typically, spacing intervals should reflect the type of fencing being employed and the anticipated load or pressure the fence may encounter. For instance, in areas with high animal traffic or potential wind exposure, tighter spacing—ranging from 5 to 8 feet—might be necessary. Moreover, embedding approximately one-third of the post’s length into the ground can significantly enhance stability, reducing the risk of tilting or uprooting.
When considering a supplier for 4-foot U posts, it is essential to prioritize those offering galvanized options. The galvanization process adds a protective zinc coating, fundamentally extending the lifespan of the post by preventing rust and corrosion. Trusted suppliers often adhere to industry standards, ensuring that the posts meet quality benchmarks that guarantee performance and safety.
The credibility of the installation hinges substantially on adhering to proper maintenance procedures. Regular inspections to check for signs of wear or displacement are advisable. This prudent practice ensures any minor issues are swiftly addressed, preventing escalation into more significant, costly repairs.
In conclusion, the 4-foot U post stands out as a reliable, versatile choice for fencing needs across a range of applications. Its ease of installation, coupled with the ability to withstand environmental elements, makes it an invaluable component in both residential and agricultural settings. By considering factors such as gauge, spacing, and maintenance, users can maximize the benefits of their investment, ensuring the durability and integrity of their fencing solutions.